设为首页 | 收藏本站
智汇传播·生态共赢
共享中心

一种自定心钻孔夹具在车削加工中的应用

发表时间:2025-11-10 09:19

鉴于车削加工中常规固定式钻孔方法存在的弊端,设计制作了一种自定心钻孔夹具,可在加工过程中自动调整钻头与车床主轴的同轴度,该夹具在钻孔、铰孔和攻螺纹等加工过程中均取得了良好的应用效果。



PART.01序言

钻孔加工是车削孔的基础工艺方法。对于IT10级精度要求以下的孔加工,通常采用一次钻孔或二次钻扩的工艺方法。钻孔的圆度、圆柱度和直线度是衡量钻孔质量的关键指标。从加工工艺系统分析,导致钻孔超标的可控因素主要包括钻头质量、机床精度、钻夹具和钻孔工艺策略[1]


目前,生产一线普遍使用传统的固定式刚性钻夹具。虽然这种钻夹具已实现标准化,具有制作工艺成熟、刚性好的优点,但对机床的机械精度依赖性较强[2]。调研发现,生产一线超过一定年限的数控车床,特别是转塔式数控车床,普遍存在车床主轴与刀座中心线同轴度超差现象,在钻孔加工时容易引发质量问题。针对这一问题,本文设计了一种简易实用的自定心钻夹具,实现钻孔加工过程“同轴化”,在生产实践中取得了良好的应用效果。接下来将详细介绍这种自定心钻夹具产生的背景、结构原理和应用方法。

PART.02问题提出与解决方案



此前一直采用固定式钻夹具装夹钻头进行钻孔。在进行如图1所示零件——滑动套的工艺试制攻关时,遇到的工艺难题促使我们萌生了进行自定心钻孔、铰孔的想法。该零件结构相对简单,关键在于Φ7图片mm深孔的加工。为保证加工精度,采用“钻孔+铰孔”的工艺方案,并利用转塔式数控车床实施工艺攻关。在试制过程中,由于使用的是固定式钻夹头,所加工孔基本为锥孔,无法满足图样要求。经过工艺分析,认定是机床刀塔刀座中心与主轴不同轴,即存在中心高度差所致。通过更换精度保持良好的机床进行试加工,问题得到解决。事后检查发现,生产现场所有的转塔式数控车床都或多或少存在中心高度差问题。由于日常孔加工普遍采用“钻孔+镗孔”的工艺方法,所以该问题被掩盖。


经过上述分析,我们一方面认识到加强机床维护保养、定期进行精度维持的重要性,另一方面也准备开发一种绕开中心高度差影响的工艺方法。基于此,我们自行设计制作了一种结构简单的自定心钻夹具。


18.jpg

图1 滑动套



PART.03自定心钻夹具的设计原理与结构组成


3.1 设计原理


从数控车床的机械结构可知,当刀塔的镗孔座与机床主轴完全同轴时,刀座中心点位于以主轴中心为原点的直角平面坐标系的中心;若不同轴,则意味着刀座的实际中心高散布于坐标系原点附近一定半径的圆周内,自定心钻夹具原理如图2所示。如设计一种具有两个移动自由度的工艺装置,就可以将所安装刀具(钻头或铰刀)的中心高重新移动到以主轴为中心的原点,实现实际刀具中心高与主轴中心重合,这便是设计自定心钻夹具的理论依据。

19.jpg

图2 自定心钻夹具原理



3.2 结构组成及功能


考虑到日常以钻孔为主的工作性质,旨在设计一种加工成本低、动作简单、扭矩大且能提高钻孔质量的车床自定心钻孔夹具。


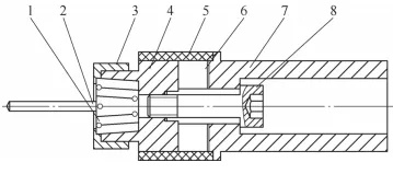
针对这一目标,设计的机械结构包括夹持套、联接螺栓、“十字”浮动滑架、钻夹头、弹簧夹芯、锁紧螺母和弹性保持套,其整体结构如图3所示。夹持套外圆加工有锁紧扁头,中心加工有容通联接螺栓的圆孔和方孔,左端面加工有供“十字”浮动滑架滑移的精密开放键槽;钻夹头右端面同样加工有供“十字”浮动滑架滑移的精密开放键槽和与联接螺栓配合的内螺纹,左端加工有与锁紧螺母配合的外螺纹和与弹簧夹芯配合的内锥面;“十字”浮动滑架两端面各有一条凸起键,分别与钻夹头和夹持套端面的键槽配合,并且两条凸起键在空间上垂直,中心开有与夹持套相同规格的方孔容通联接螺栓,是实现自定心和传递扭矩的关键零部件,方孔和联接螺栓直径差即为夹具的浮动量,其结构如图 4 所示;联接螺栓是标准内六方螺栓,通过夹持套和“十字”浮动滑架方孔,联接到钻夹头;弹簧夹芯和锁紧螺母都是标准件,与钻夹头配合夹紧钻头;弹性保持套是聚氨酯制品,起到对钻夹头和十字浮动滑架的收束作用,克服重力下斜。浮动钻孔夹具实物如图5所示。

20.jpg

图3 自定心钻夹具结构

1—弹簧夹芯 2—钻头 3—锁紧螺母 4—钻夹头 

5—弹性保持套 6—“十字”浮动滑架 7—夹持套 8—联接螺栓


21.jpg

图4 “十字”浮动滑架


22.jpg

图5 浮动钻孔夹具实物



该夹具的自定心实现过程如下:首先利用中心钻在工件端面加工定心孔,然后调整自定心钻夹头的联接螺栓旋合,使钻夹头和夹持套有适当间隙。


使钻头以低速进给接触定心孔,在进给力的作用下,钻头通过“振动”带动钻夹头通过“十字”浮动滑架在两垂直方向的自由滑动实现自动定心。待钻头完全打入后,即可以正常切削速度加工,进行自为基准的钻孔加工,钻头沿孔轴向进给确保钻头与主轴同轴。需要注意的是,定心孔直径尽量加工得大一些,以方便入孔定心。同样需要对钻头进行高质量的刃磨。同时,也可将联接螺栓拧紧,将其作为普通钻夹头使用[3]


该不停车夹具结构简单,制作方便,加工质量改进显著,特别是在进行深孔加工时,效果更加明显。在进行1∶15深孔加工时,孔的圆柱度可控制在0.01mm之内。


PART.04结束语

这种自定心钻夹具的设计应用不仅解决了生产过程中的工艺难题,而且提升了创新思维能力。尽管其结构简单,但开创了“自定心钻孔”的工艺,应用效果明显,目前已获使用新型专利,专利号为ZL 2023 2 0119427.8。


总之,生产实践是最好的“老师”,作为从业者,只有不断实现“从实践到理论的升华”,才能走好技能进阶之路,成为新时代所需的知识型、技能型和创新型人才。未来,可进一步深入研究该自定心钻夹具在不同加工场景下的应用,优化其结构和性能,以拓展其应用范围,提高加工精度。

免责声明:
 1、本网转载其他媒体稿件,目的在于传递信息,并不代表赞同其观点和对其真实性负责,本网不承担此类稿件侵权行为的连带责任。  
   2、如因作品内容、版权和其它问题需要同本网联系的,请在该事由发生之日起一周内进行,我们会在第一时间删除。 
   3、本网原创的新闻,未经本网允许,私自转载者,请注明转载地址,否则本网保留追究其版权责任的权利。